Категории каталога
Каталог / Строительство и ремонт / Технологии ремонта / Окна, оконные блоки, остекление / Окна из пятикамерного профиля Proplex-Premium - зимой будет тепло и тихо

Окна из пятикамерного профиля Proplex-Premium - зимой будет тепло и тихо

Холода! Мороз и солнце! Для кого-то радость, а кому-то опять дрожать от холода и спать под тремя одеялами. Что делать? Заклеить окна, вытащить обогреватель... Хватит! Почему бы не поставить новые окна? Мало того, что о стуже и завывании ветра в оконных щелях можно будет забыть навсегда, так ведь еще и шума в квартире станет гораздо меньше

Этой осенью Proma приготовила Вам отличный сюрприз - сезонное снижение цены! Стали дешевле окна из пятикамерного (!) профиля Proplex-Premium. О чем речь?

  • Во-первых, окна из этого профиля отличаются самыми низкими потерями тепла по сравнению с другими пластиковыми окнами;
  • Во-вторых, в них можно установить самые толстые стеклопакеты, что важно, если у Вас под окнами - "эти проклятые машины";
  • В-третьих, это действительно окна класса "люкс", о чем красноречиво свидетельствует их дизайн.

Особенности конструкции профиля PROPLEX-PREMIUM

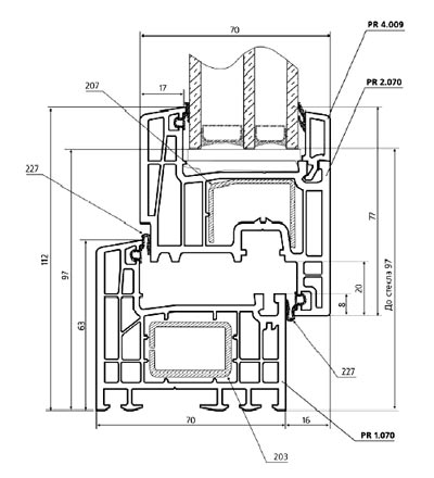
Увеличенный коэффициент сопротивления теплопроводности достигается благодаря пятикамерной конструкции и увеличенной до 70 мм ширине профиля. А так же тем, что армирующий профиль отделен от внешней лицевой стенки не менее, чем двумя предварительными камерами, а от внутренней лицевой стенки - 1-2 камерами, что снижает вероятность образования мостиков холода и тем самым увеличивает общий коэффициент сопротивления теплопроводности. Увеличенная ширина фальца стеклопакета позволяет использовать всю гамму стеклопакетов, в том числе морозостойких, толщиной до 40 мм.

Фальц под стеклопакет имеет небольшой наклон, для освобождения полости от конденсата. При установке заполнения в фальц под стеклопакет устанавливается компенсационная прокладка, распределяющая нагрузку на фальц, на которую в свою очередь, устанавливаются распорные регулировочные прокладки.

Внутренние перегородки образуют камеру под армирующий профиль. Для упрощения ориентации армирующего профиля, а также для образования воздушной прослойки внутри камеры предусмотрены дополнительные приливы, на которые ложится армирующий профиль.

В системе профилей Proplex-Premium используется всего два типа армирующих профилей стандартной конфигурации. Армирующие профили для рамы и импоста выполнены в виде прямоугольной трубы.

На скрытых поверхностях профиля расположены технологические углубления ("канавки") для облегчения монтажа фурнитуры и армирующих профилей. Использование "углублений" сокращает возможность "проворачивания" саморезов, точно обозначая места крепления.

В конструкции профилей системы Proplex-Premium используются "приливы" для обеспечения более надежного крепления саморезов в теле профиля за счет увеличения их площади соприкосновения. При установке петель на профиль створки закрепление саморезами производится через одну лицевую и две внутренние стенки.

Расчет технологических размеров ведется по тем же формулам, что и при расчете стандартной системы. Нет необходимости вносить изменения в методику расчета.

Технические характеристики профиля PROPLEX-PREMIUM

Подтверждением высоких качеств системы профилей PROPLEX-PREMIUM являются результаты испытаний, проведенных различными лабораториями и институтами, в том числе Испытательной лабораторией пластмасс и полимеров НИИПМ и ИЦ "АТСпецстройиспытания".

Система профилей PROPLEX-PREMIUM изготавливается на основе российского ПВХ с применением стабилизаторов и добавок австрийского производства.

Показатели испытаний профиля PROPLEX-PREMIUM

Наименование показателя PROPLEX-PREMIUM
Термическое сопротивление, R0м2 х К/Вт 0,84*
Теплопроводность, Вт/(м х К) 0,04
  • *Класс 1 по ГОСТу 30673-99

  • Испытания проводились на установке ИСК-У/измеритель термического сопротивления (теплопроводности строительных конструкций и материалов) ИЦ "АТ Спецстройиспытания".

Область применения:

  • в условиях крайнего севера и других климатических районах России в соответствии с требованиями СНиП II-3-79* и проектом на строительство.

Подробности акции на сайте Proma!

Дата публикации 02.11.04



Материал предоставлен: ВашДом.RU

Реклама:
Где заказать рерайтинг текстов узнай на сайте eTXT.ru